| Ref # | Current Part Nbr |
Description | Superceded From |
Status | Notes | List Price |
Online Price |
Quan Used |
Order Quan |
|---|---|---|---|---|---|---|---|---|---|
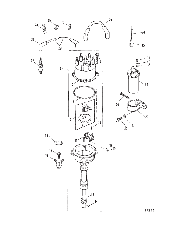
| 1 | 805185A37 | DISTRIBUTOR ASSEMBLY | 90747A15 | SS |
|
$461.99 | $427.64 | 1 | |
| 2 | 815407A2 | ----CAP DISTRIBUTOR | 13753A2 | SS |
|
$42.99 | $42.23 | 1 | |
| 3 | 90926 | ----SCREW (#10-32 x .810) DISTRIBUTOR CAP | ACT | $1.00 | $0.98 | 4 | |||
| 4 | 805760 | ----GASKET DISTRIBUTOR CAP | 982421 | SS |
|
$5.39 | $5.27 | 1 | |
| 5 | 13524A6 | ----ROTOR/SENSOR WHEEL | ACT | $17.29 | $16.94 | 1 | |||
| 11 | 892150Q02 | ----SENSOR ASSEMBLY | 91019A3 | SS |
|
$111.49 | $100.45 | 1 | |
| 12 | 66686 | ----SCREW (#10-32 x 1.00) SENSOR | ACT | $1.80 | $1.76 | 1 | |||
| 12 | 72202 | ----SCREW (#10-32 x 1.25) SENSOR | ACT | $3.39 | $3.30 | 1 | |||
| 13 | 8M0115498 | ----GEAR DRIVE | 8137761 | SS |
|
$89.99 | $84.52 | 1 | |
| 14 | 47617 | ----PIN DRIVE GEAR | ACT | $3.19 | $3.11 | 1 | |||
| 15 | 344863 | GASKET DISTRIBUTOR | ACT |
|
$2.69 | $2.62 | 1 | ||
| 16 | 88731 | CLAMP DISTRIBUTOR TO INTAKE MANIFOLD | 52185 | SS |
|
$9.99 | $9.76 | 1 | |
| 17 | 11976 | SCREW (.375-16 x 1.00) DISTRIBUTOR CLAMP | ACT | $8.09 | $7.90 | 1 | |||
| 18 | 26996 | LOCKWASHER (#10) Stainles DISTRIBUTOR TERMINAL | ACT | $1.20 | $1.18 | 2 | |||
| 19 | 68219 | NUT (#10-32) Stainless St DISTRIBUTOR TERMINAL | ACT | $2.99 | $2.92 | 2 | |||
| 20 | 816761Q16 | SPARK PLUG WIRE KIT | 813720A11 | SS |
|
$80.49 | $75.73 | 1 | |
| 21 | 63709A1 | ----BOOT/TERMINAL KIT SPARK PLUG | ACT | $8.19 | $8.00 | 8 | |||
| 22 | 8M0204752 | SPARK PLUG | 59571 | SS |
|
$8.29 | $8.10 | 8 | |
| 23 | 54676 | RETAINER Two Wire HIGH TENSION LEADS | ACT |
|
$5.19 | $5.08 | 2 | ||
| 24 | 32783 | RETAINER Three Wire HIGH TENSION LEADS | ACT |
|
$4.09 | $4.00 | 4 | ||
| 25 | 32784 | RETAINER Four Wire HIGH TENSION LEADS | NLA |
|
$0.00 | $0.00 | 2 | ||
| 26 | 8M0079202 | COIL IGNITION | 7803A4 | SS |
|
$127.49 | $114.72 | 1 | |
| 27 | 65970T1 | BRACKET IGNITION COIL | 65970 | SS |
|
$17.89 | $17.46 | 1 | |
| 28 | 41408 | SCREW (#10-32 x 1.50) BRACKET | ACT | $3.39 | $3.30 | 1 | |||
| 29 | 30164 | WASHER (.192 x .375 x .03 IGNITION COIL TERMINAL | ACT | $2.49 | $2.43 | 2 | |||
| 30 | 26996 | LOCKWASHER (#10) Stainles IGNITION COIL TERMINAL | ACT | $1.20 | $1.18 | 2 | |||
| 31 | 68219 | NUT (#10-32) Stainless St IGNITION COIL TERMINAL | ACT | $2.99 | $2.92 | 2 | |||
| 32 | 98260 | SCREW (.375-16 x .620) IGNITION COIL | ACT | $1.10 | $1.08 | 1 | |||
| 33 | 35048 | LOCKWASHER (.375) IGNITION COIL SCREW | ACT | $1.20 | $1.18 | 1 | |||
| 34 | 90096A1 | STUD ASSEMBLY (#10-32 x Special) | ACT |
|
$15.59 | $15.22 | 2 | ||
| 35 | 72821 | ----RETAINER WIRE | ACT |
|
$5.49 | $5.37 | 2 | ||
| - | 11977A92 | GASKET SET | NLA |
|
$0.00 | $0.00 | 1 |