| Ref # | Current Part Nbr |
Description | Superceded From |
Status | Notes | List Price |
Online Price |
Quan Used |
Order Quan |
|---|---|---|---|---|---|---|---|---|---|
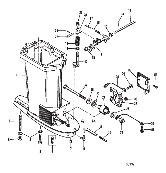
| 1 | 898289A49 | HOUSING ASSEMBLY Driveshaft | 8974A11 | SS/NLA |
|
$0.00 | $0.00 | 1 | |
| 1 | 898289A49 | HOUSING ASSEMBLY Driveshaft | 8974A10 | SS/NLA |
|
$0.00 | $0.00 | 1 | |
| 2 | 903501 | ----STUD (M10 x 100) DRIVE SHAFT HOUSING | ACT |
|
$14.19 | $13.85 | 1 | ||
| 2 | 903502 | ----STUD (M10 x 227) DRIVE SHAFT HOUSING | ACT |
|
$86.49 | $81.07 | 1 | ||
| 3 | 4000380 | SCREW (M10 x 45) GEAR HOUSING | ACT |
|
$5.29 | $5.17 | 4 | ||
| 4 | 903503 | STUD (M10 x 190) GEAR HOUSING | ACT |
|
$25.49 | $25.04 | 4 | ||
| 5 | 45176 | WASHER GEAR HOUSING STUD/SCREW | 43042 | SS |
|
$1.50 | $1.47 | 5 | |
| 6 | 40140 | NUT (M10) GEAR HOUSING STUD | 13914 | SS |
|
$3.39 | $3.30 | 1 | |
| 7 | 429222 | GUIDE PUSH ROD (NON POWER TRIM) | 42922 | SS/NLA |
|
$0.00 | $0.00 | 1 | |
| 7A | 429221 | PLUG (POWER TRIM) | 15864 | SS/NLA |
|
$0.00 | $0.00 | 1 | |
| 8 | 85822A4 | PICKUP ASSEMBLY Speedometer | ACT |
|
$9.79 | $9.56 | 1 | ||
| 9 | 433351 | ----CONNECTOR 90 Degree (.125-27) Nylon | 43335 | SS |
|
$5.89 | $5.76 | 1 | |
| 10 | 85822T | ----CONNECTOR Straight | 85822 | SS |
|
$2.59 | $2.53 | 1 | |
| 11 | 14664A2 | HOOK ASSEMBLY Reverse NON POWER TRIM | 14664A1 | SS/NLA |
|
$0.00 | $0.00 | 1 | |
| 12 | 16686 | PUSH ROD NON POWER TRIM | NLA |
|
$0.00 | $0.00 | 1 | ||
| 13 | 99606 | SHAFT REVERSE LOCK - NON POWER TRIM | NLA |
|
$0.00 | $0.00 | 1 | ||
| 14 | 45882 | COTTER PIN SHAFT - NON POWER TRIM | ACT | $2.96 | $2.90 | 1 | |||
| 15 | 69132 | BUSHING REVERSE LOCK SHAFT - NON POWER TRIM | NLA |
|
$0.00 | $0.00 | 2 | ||
| 16 | 996261 | SPRING REVERSE LOCK - NON POWER TRIM | NLA |
|
$0.00 | $0.00 | 1 | ||
| 17 | 47959 | COTTER PIN SPRING - NON POWER TRIM | ACT | $2.99 | $2.92 | 1 | |||
| 18 | 8M0042642 | WASHER (.323 x .563 x .06 PUSH ROD - NON POWER TRIM | 70132 | SS |
|
$1.80 | $1.76 | 1 | |
| 19 | 44297 | SPRING PUSH ROD NUT - NON POWER TRIM | NLA |
|
$0.00 | $0.00 | 1 | ||
| 20 | 996361 | YOKE PUSH ROD - NON POWER TRIM | 99636 | SS/NLA |
|
$0.00 | $0.00 | 1 | |
| 21 | 82670911 | NUT (.312-24) Stainless S JAM - PUSH ROD - NON POWER TRIM | 35814 | SS |
|
$4.99 | $4.88 | 1 | |
| 22 | 99663 | PIN Clevis REVERSE LOCK - NON POWER TRIM | NLA |
|
$0.00 | $0.00 | 1 | ||
| 23 | 25191 | COTTER PIN CLEVIS PIN - NON POWER TRIM | ACT | $3.79 | $3.69 | 1 | |||
| 24 | 42930A1 | MOUNT LOWER | 42930 | SS |
|
$131.99 | $118.85 | 2 | |
| 24 | 44343T1 | MOUNT LOWER | 44343 | SS |
|
$89.49 | $83.89 | 2 | |
| 25 | 898835001 | BOLT (M12 x 154) LOWER MOUNT | 429731 | SS |
|
$21.39 | $20.95 | 2 | |
| 26 | 28051 | WASHER LOWER MOUNT BOLT | ACT | $19.29 | $18.91 | 2 | |||
| 27 | 28053 | WASHER LOWER MOUNT BOLT | ACT | $3.99 | $3.91 | 2 | |||
| 28 | 30119 | WASHER (.875 Inch Outside Diameter) LOWER MOUNT BOLT | ACT | $2.69 | $2.62 | 2 | |||
| 29 | 8M0204662 | NUT (M12) LOWER MOUNT BOLT | 43528 | SS |
|
$14.59 | $14.24 | 2 | |
| 30 | 88238A10 | CABLE ASSEMBLY Ground | 88238A2 | SS |
|
$8.29 | $8.10 | 2 | |
| 31 | 41508 | SCREW (.250-20 x .500) Stainless Steel GROUND WIRE | ACT | $3.79 | $3.69 | 1 | |||
| 32 | 8M0036730 | CLAMP LOWER MOUNT | 93192 | SS |
|
$27.59 | $27.09 | 2 | |
| 33 | 35521 | NUT NYLON - COVER SCREW | ACT | $2.79 | $2.72 | 4 | |||
| 34 | 40011149 | SCREW CLAMP | 4009525 | SS |
|
$2.69 | $2.62 | 4 | |
| 35 | 8M4500752 | COVER LOWER MOUNT | 67077 | SS |
|
$24.29 | $23.82 | 2 | |
| 35 | 8M4500752 | COVER LOWER MOUNT | 67077T6 | SS |
|
$24.29 | $23.82 | 1 | |
| 36 | 88417 | SCREW (#12-24 x .620) COVER | ACT | $1.80 | $1.76 | 4 | |||
| -- | 12092A3 | SPACER KIT DRIVE SHAFT HOUSING - X-LONG | ACT |
|
$382.99 | $344.90 | 1 | ||
| -- | 12092A4 | SPACER KIT DRIVE SHAFT HOUSING - X-LONG | NLA |
|
$0.00 | $0.00 | 1 |