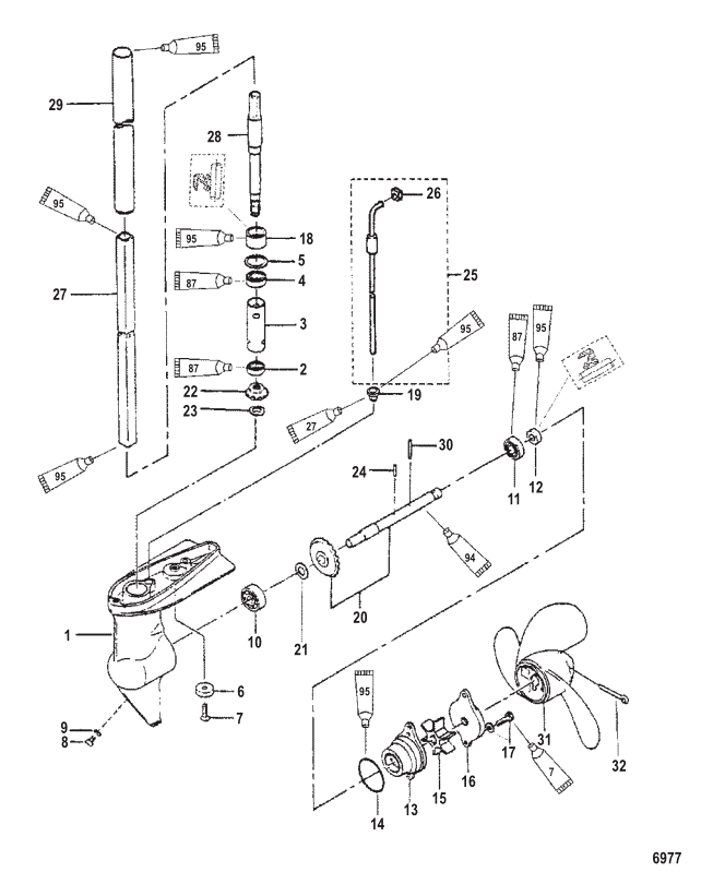
| Ref # | Current Part Nbr |
Description | Superceded From |
Status | Notes | List Price |
Online Price |
Quan Used |
Order Quan |
|---|---|---|---|---|---|---|---|---|---|
| - | 825122A2 | GEAR HOUSING ASSEMBLY Complete | ACT |
|
$330.49 | $297.73 | 1 | ||
| 1 | 825122T1 | ----GEAR HOUSING ASSEMBLY Basic | ACT |
|
$205.99 | $185.64 | 1 | ||
| 2 | 95342 | --------BEARING Ball Lower | ACT | $26.19 | $25.70 | 1 | |||
| 3 | 95343 | --------SPACER | NLA |
|
$0.00 | $0.00 | 1 | ||
| 4 | 95344 | --------BEARING Ball Upper | ACT | $26.49 | $26.03 | 1 | |||
| 5 | 95345 | --------RING Snap | ACT | $2.99 | $2.92 | 1 | |||
| 6 | 823913Q | --------ANODE | ACT | $20.49 | $20.13 | 1 | |||
| 7 | 16832 | --------BOLT (M6 x 16) | ACT | $4.49 | $4.39 | 1 | |||
| 8 | 953683 | ----PLUG | ACT | $0.00 | $0.00 | 2 | |||
| 9 | 8M0082880 | ----GASKET | 95220 | REP |
|
$6.09 | $5.95 | 2 | |
| 10 | 95347 | ----BEARING | ACT | $28.09 | $27.58 | 1 | |||
| 11 | 95344 | ----BEARING Ball | ACT | $26.49 | $26.03 | 1 | |||
| 12 | 95348 | ----SEAL Oil | ACT |
|
$15.99 | $15.61 | 1 | ||
| 13 | 952871 | ----PUMP Water | ACT | $97.99 | $92.21 | 1 | |||
| 14 | 95288 | ----O-RING | ACT |
|
$5.19 | $5.08 | 1 | ||
| 15 | 952892 | ----IMPELLER | ACT | $41.49 | $40.67 | 1 | |||
| 16 | 825114 | ----COVER | ACT | $31.99 | $31.34 | 1 | |||
| 17 | 167051 | ----BOLT (M6 x 20) | ACT | $6.09 | $5.95 | 2 | |||
| 18 | 95350 | ----SEAL Oil | ACT | $22.19 | $21.77 | 1 | |||
| 19 | 95361 | ----BUSHING Lower | ACT | $3.99 | $3.91 | 1 | |||
| 20 | 95291A1 | ----PROPELLER SHAFT (With Bevel Gear) | NLA |
|
$0.00 | $0.00 | 1 | ||
| 21 | 811647A1 | ----SHIM | ACT | $0.90 | $0.88 | AR | |||
| 22 | 95293 | ----GEAR Pinion | NLA |
|
$0.00 | $0.00 | 1 | ||
| 23 | 815066 | ----RING Snap | ACT | $1.80 | $1.76 | 1 | |||
| 24 | 95371 | ----KEY | ACT | $5.19 | $5.08 | 1 | |||
| 25 | 95359 | TUBE ASSEMBLY Water | ACT |
|
$19.79 | $19.40 | 1 | ||
| 25 | 953593 | TUBE ASSEMBLY Water | NLA |
|
$0.00 | $0.00 | 1 | ||
| 26 | 953601 | ----GROMMET Upper | ACT | $3.69 | $3.59 | 1 | |||
| 27 | 95290 | DRIVESHAFT (Upper) | ACT |
|
$43.49 | $42.72 | 1 | ||
| 27 | 952903 | DRIVESHAFT (Upper) | ACT |
|
$49.99 | $49.02 | 1 | ||
| 28 | 95369 | DRIVESHAFT Lower | NLA |
|
$0.00 | $0.00 | 1 | ||
| 29 | 95277 | PIPE | ACT |
|
$79.99 | $75.11 | 1 | ||
| 29 | 952772 | PIPE | ACT |
|
$15.09 | $14.73 | 1 | ||
| 30 | 815111Q02 | SHEAR PIN Stainless Steel | 815111 | SS |
|
$12.59 | $12.36 | 1 | |
| 30 | 815111Q02 | PIN Brass | 8151111 | SS |
|
$12.59 | $12.36 | 1 | |
| 31 | 815083A01 | PROPELLER (3 x 7.4 x 5.7)(Plastic) | 815083 | SS |
|
$75.43 | $56.57 | 1 | |
| 31 | 815084A01 | PROPELLER Aluminum (3 x 7.4 x 6) | 815084 | SS |
|
$101.13 | $75.85 | OPT | |
| 31 | 815084A02 | PROPELLER Aluminum (3 x 7.4 x 7) | 8150841 | SS |
|
$108.15 | $81.11 | OPT | |
| 31 | 815083A02 | PROPELLER Plastic (3 x 7.4 x 7) | 8150831 | SS |
|
$75.43 | $56.57 | OPT | |
| 32 | 95295 | COTTER PIN | ACT | $7.55 | $7.39 | 1 | |||
| - | 8M0082878 | GASKET SET Lower Unit | 95220A3 | SS |
|
$20.69 | $20.30 | 1 |