| Ref # | Current Part Nbr |
Description | Superceded From |
Status | Notes | List Price |
Online Price |
Quan Used |
Order Quan |
|---|---|---|---|---|---|---|---|---|---|
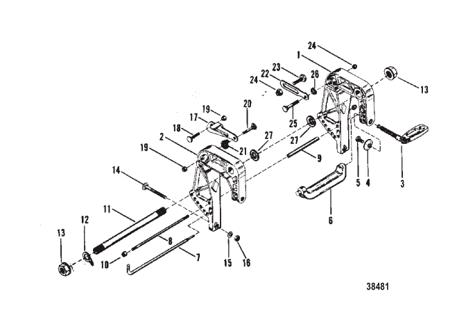
| 1 | 8794A5 | ORD1497- 8794A 5 | 8794A1 | NLA |
|
$0.00 | $0.00 | 1 | |
| 1 | 8794A6 | ORD1497- 8794A 6 | 8794A2 | NLA |
|
$0.00 | $0.00 | 1 | |
| 2 | 8794A5 | CLAMP BRACKET | 8796A1 | SS/NLA |
|
$0.00 | $0.00 | 1 | |
| 2 | 8794A6 | CLAMP BRACKET ASY | 8796A2 | SS/NLA |
|
$0.00 | $0.00 | 1 | |
| 3 | 92767A1 | ----THUMB SCREW ASY | ACT |
|
$64.99 | $62.28 | 2 | ||
| 4 | 818884 | --------ORD 12-818884 THUMB SCREW | 73719 | REP |
|
$13.79 | $13.46 | 2 | |
| 5 | 768042 | --------SCREW WASHER ATTACHING | 76804 | SS |
|
$3.49 | $3.40 | 2 | |
| 6 | 41042 | HANDLE CARRYING | ACT | $21.99 | $21.53 | 1 | |||
| 7 | 99929A1 | PIN KIT-TILT LOCK | NLA |
|
$0.00 | $0.00 | 1 | ||
| 8 | 99928 | STUD CLAMP BRACKET | NLA |
|
$0.00 | $0.00 | 1 | ||
| 9 | 41041 | SPACER CLAMP BRACKET STUD | NLA |
|
$0.00 | $0.00 | 1 | ||
| 10 | 400213 | NUT CLAMP BRACKET STUD | ACT | $2.89 | $2.82 | 2 | |||
| 11 | 8M0035075 | TUBE-TILT | 41171 | SS |
|
$51.99 | $49.86 | 1 | |
| 12 | 8M0085928 | CLIP SAFETY | 30954 | SS |
|
$9.29 | $9.07 | 1 | |
| 13 | 93164 | NUT TILT TUBE | ACT | $3.71 | $3.63 | 2 | |||
| 14 | 69064 | SCREW CLAMP BRACKET TO TRANSOM | NLA |
|
$0.00 | $0.00 | 2 | ||
| 15 | 67981 | WASHER CLAMP BRACKET BOLT | ACT | $3.19 | $3.11 | 2 | |||
| 16 | 82670910 | NUT CLAMP BRACKET BOLT | 67980 | SS |
|
$7.19 | $7.03 | 2 | |
| 17 | 96965 | LEVER TILT STOP - STARBOARD SIDE | ACT | $44.99 | $44.03 | 1 | |||
| 18 | 41523 | SCREW LEVER TO SWIVEL BRACKET | ACT | $6.69 | $6.54 | 1 | |||
| 19 | 36069 | NUT TILT STOP LEVER SCREW | ACT | $4.59 | $4.49 | 2 | |||
| 20 | 41524 | SCREW LEVER TO CLAMP BRACKET | ACT | $9.39 | $9.17 | 1 | |||
| 21 | 44581 | SPRING TILT STOP LEVER SCREW | ACT | $4.59 | $4.49 | 1 | |||
| 22 | 90901 | STRAP TILT STOP - PORT SIDE | ACT | $6.19 | $6.05 | 1 | |||
| 23 | 41523 | SCREW STRAP TO SWIVEL BRACKET | ACT | $6.69 | $6.54 | 1 | |||
| 24 | 36069 | NUT TILT STOP STRAP SCREW | ACT | $4.59 | $4.49 | 2 | |||
| 25 | 41524 | SCREW STRAP TO CLAMP BRACKET | ACT | $9.39 | $9.17 | 1 | |||
| 26 | 31030 | WASHER-WAVE TILT STOP STRAP SCREW | ACT | $1.80 | $1.76 | 1 | |||
| 27 | 71421 | WASHER TILT TUBE | ACT | $1.80 | $1.76 | 2 |