| Ref # | Current Part Nbr |
Description | Superceded From |
Status | Notes | List Price |
Online Price |
Quan Used |
Order Quan |
|---|---|---|---|---|---|---|---|---|---|
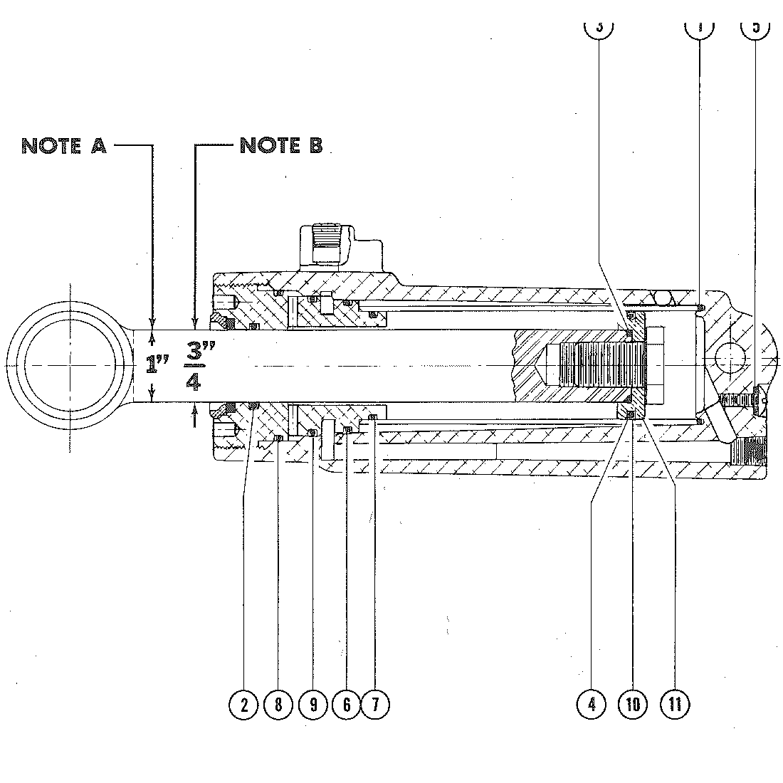
| - | 64507A1 | REPAIR KIT (SEE NOTE B ABOVE) | NLA |
|
$0.00 | $0.00 | 1 |