| Ref # | Current Part Nbr |
Description | Superceded From |
Status | Notes | List Price |
Online Price |
Quan Used |
Order Quan |
|---|---|---|---|---|---|---|---|---|---|
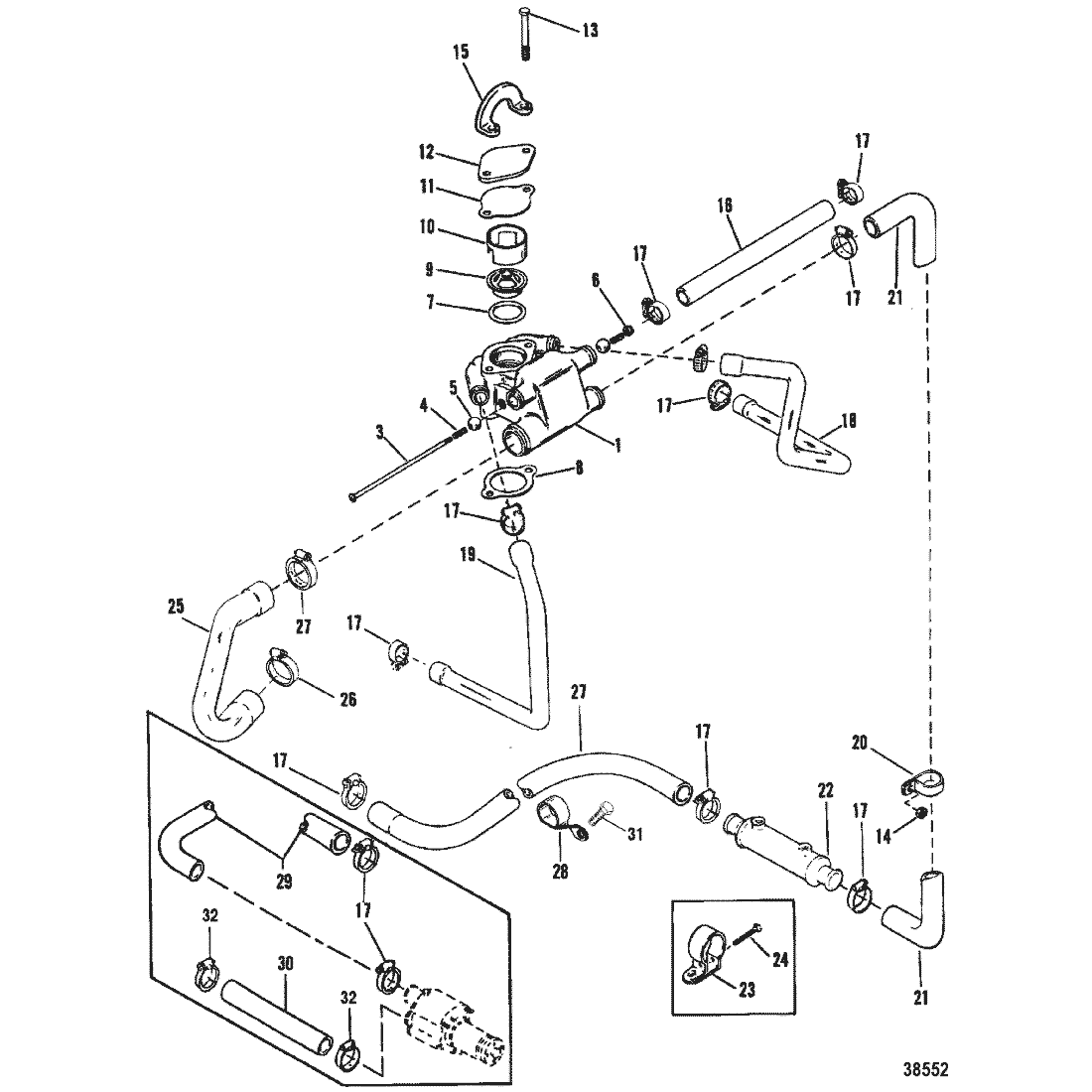
| 1 | 16413A9 | HOUSING ASSEMBLY, Thermostat | NLA |
|
$0.00 | $0.00 | 1 | ||
| 1 | 16413A3 | HOUSING ASSEMBLY, Thermostat | NLA |
|
$0.00 | $0.00 | 1 | ||
| 3 | 17989 | --SCREW, (#10-32 x 8.600) | ACT |
|
$8.70 | $8.49 | 1 | ||
| 4 | 75533 | --SPRING | ACT |
|
$3.00 | $2.93 | 2 | ||
| 5 | 98475 | --BALL, Nylon | ACT |
|
$11.20 | $10.93 | 2 | ||
| 6 | 8M0204718 | --NUT, (#10-32) | 29488 | SS |
|
$4.70 | $4.59 | 1 | |
| 7 | 8M0204651 | --O-RING, (1.859 x .139) | 30224 | SS |
|
$4.19 | $4.10 | 1 | |
| 8 | 530451 | GASKET | ACT | $5.70 | $5.56 | 1 | |||
| 9 | 8M0089715 | THERMOSTAT | 8072521 | SS |
|
$27.49 | $27.04 | 1 | |
| 9 | 8M0109441 | THERMOSTAT, 71°C (160°F) | 8072522 | SS |
|
$34.49 | $33.81 | 1 | |
| 10 | 8M0214947 | SLEEVE | 806922 | SS |
|
$17.90 | $17.46 | 1 | |
| 11 | 8M0214924 | GASKET | 331792 | SS |
|
$3.00 | $2.93 | 1 | |
| 12 | 17494A1 | COVER KIT | ACT | $54.58 | $52.50 | 1 | |||
| 13 | 60410 | SCREW, (.375-16 x 4.250) | ACT | $5.90 | $5.76 | 2 | |||
| 14 | 29250 | NUT, (.312-24) | ACT | $2.90 | $2.83 | 1 | |||
| 15 | 12552 | LIFTING EYE | ACT | $17.80 | $17.36 | 1 | |||
| 16 | 8M0062614 | HOSE, (48.00 Inches Bulk) | 3322070 | SS |
|
$71.08 | $68.37 | 2 | |
| 16 | 8M0062614 | HOSE, (48.00 Inches Bulk) | 3322070 | SS |
|
$71.08 | $68.37 | 1 | |
| 16 | 817435 | HOSE | NLA |
|
$0.00 | $0.00 | 1 | ||
| 17 | 815504220 | CLAMP, Worm Gear | ACT | $7.59 | $7.42 | AR | |||
| 18 | 160211 | HOSE (PORT) | ACT | $40.75 | $40.02 | 1 | |||
| 19 | 871171 | HOSE (STARBOARD) | ACT | $44.33 | $43.54 | 1 | |||
| 20 | 47715 | CLIP | NLA |
|
$0.00 | $0.00 | 1 | ||
| 21 | 16012 | HOSE | ACT | $38.42 | $37.73 | 1 | |||
| 22 | 8M0181740 | COOLER ASSEMBLY | 99356A2 | SS |
|
$444.07 | $424.47 | 1 | |
| 23 | 65970T1 | BRACKET | ACT | $16.50 | $16.09 | 1 | |||
| 24 | 41408 | SCREW, (#10-32 x 1.50) | ACT | $3.40 | $3.32 | 1 | |||
| 25 | 861590A05 | HOSE | 806825 | SS |
|
$65.67 | $63.16 | 1 | |
| 26 | 815504232 | CLAMP, Worm Gear (2.50 Diameter) | ACT | $8.90 | $8.68 | 2 | |||
| 27 | 96246A4 | HOSE | ACT |
|
$73.76 | $70.94 | 1 | ||
| 28 | 64489 | CLAMP | NLA |
|
$0.00 | $0.00 | 1 | ||
| 29 | 887952 | HOSE | ACT |
|
$56.34 | $54.19 | 1 | ||
| 30 | 8M0062666 | HOSE, (96.00 Inches Bulk) | 1743579 | SS |
|
$220.82 | $207.96 | 1 | |
| 31 | 98261 | SCREW, (.375-16 x .750) | ACT | $1.20 | $1.18 | 1 | |||
| 32 | 8M0188622 | CLAMP, Worm Gear (1.98 DIameter) | 815504222 | SS |
|
$5.70 | $5.56 | 2 |