| Ref # | Current Part Nbr |
Description | Superceded From |
Status | Notes | List Price |
Online Price |
Quan Used |
Order Quan |
|---|---|---|---|---|---|---|---|---|---|
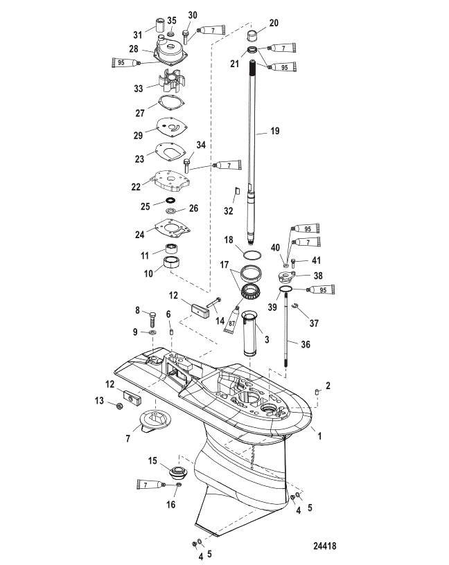
| - | 8M0118186 | GEAR HOUSING ASSEMBLY Complete (Long) | 893681T02 | SS |
|
$4,292.85 | $3,844.90 | 1 | |
| - | 8M0118188 | GEAR HOUSING ASSEMBLY Complete (X-Long) | 8M0053765 | SS |
|
$4,292.85 | $3,844.90 | 1 | |
| 1 | 8M0118594 | ----GEAR HOUSING ASSEMBLY Basic | 893681T04 | SS |
|
$1,569.49 | $1,405.41 | 1 | |
| 2 | 8M0084244 | --------PIN Dowel - With Hole (.375 x .625) Front | 43043 | SS |
|
$3.29 | $3.21 | 1 | |
| 3 | 43046 | --------TUBE Oiler | ACT | $28.99 | $28.40 | 1 | |||
| 4 | 79953Q04 | --------SCREW KIT Drain | ACT |
|
$7.49 | $7.32 | 3 | ||
| 5 | 8M0204693 | ------------SEAL | 830749 | SS |
|
$5.19 | $5.08 | 3 | |
| 6 | 43044 | --------PIN Dowel - Without Hole (.375 x .625) Rear | ACT | $2.49 | $2.43 | 1 | |||
| 7 | 31640T07 | --------TRIM TAB | 31640T5 | ACT | $0.00 | $0.00 | 1 | ||
| 8 | 825427 | --------SCREW (.437-14 x 1.250) Stainless Steel | ACT | $6.99 | $6.83 | 1 | |||
| 9 | 451761 | --------WASHER (.453 x .812 x .105) Black Oxide | ACT | $2.59 | $2.53 | 1 | |||
| 10 | 43040T1 | --------CARRIER ASSEMBLY | ACT |
|
$78.99 | $74.41 | 1 | ||
| 11 | NSS | ------------------------NOT SOLD SEPARATE Needle Bearing |
|
$0.00 | $0.00 | 1 | |||
| 12 | 826134Q | --------ANODE | ACT | $16.49 | $16.09 | 2 | |||
| 13 | 401386 | --------NUT (M6) Stainless Steel | ACT | $5.09 | $4.98 | 1 | |||
| 14 | 4000333 | --------SCREW (M6 x 40) | ACT | $4.09 | $4.00 | 1 | |||
| 15 | NSS | --------NOT SOLD SEPARATE Pinion Gear - Part of Forward Gear Kit |
|
$0.00 | $0.00 | 1 | |||
| 16 | 35921 | ----NUT (.625-18) | ACT |
|
$7.99 | $7.81 | 1 | ||
| 17 | 883047A1 | ----BEARING ASSEMBLY Tapered Roller | ACT |
|
$92.99 | $87.43 | 1 | ||
| 18 | 8M0063265 | ----SHIM SET | 44492A1 | REP |
|
$65.99 | $61.92 | 1 | |
| 19 | 859105A1 | ----DRIVESHAFT ASSEMBLY | ACT |
|
$898.99 | $818.53 | 1 | ||
| 19 | 875222A1 | ----DRIVESHAFT ASSEMBLY | ACT |
|
$683.99 | $622.73 | 1 | ||
| 20 | 42461A1 | --------SLEEVE/RING KIT | ACT |
|
$26.69 | $26.19 | 1 | ||
| 21 | NSS | ------------------------NOT SOLD SEPARATE Ring-Seal |
|
$0.00 | $0.00 | 1 | |||
| 22 | 8M0113262 | ----COVER ASSEMBLY Water Pump | 43055A4 | REP |
|
$148.99 | $134.33 | 1 | |
| 23 | 430331 | --------GASKET | ACT |
|
$11.09 | $10.83 | 1 | ||
| 24 | 8M0214931 | --------GASKET | 430472 | SS |
|
$13.69 | $13.36 | 1 | |
| 25 | 43035 | --------SEAL Oil Upper | ACT |
|
$19.89 | $19.41 | 1 | ||
| 26 | 43036 | --------SEAL Oil Lower | ACT |
|
$19.89 | $19.41 | 1 | ||
| 27 | 8172771 | --------GASKET | ACT |
|
$5.69 | $5.56 | 1 | ||
| 28 | 817275A2 | ----HOUSING KIT Upper Water Pump | ACT |
|
$104.99 | $94.51 | 1 | ||
| 29 | 8M0204709 | --------FACEPLATE | 8172761 | SS |
|
$14.59 | $14.24 | 1 | |
| 30 | 82684430 | --------SCREW (M6 x 30) | ACT |
|
$2.69 | $2.62 | 4 | ||
| 31 | 8M0151044 | ----COUPLER | 893855 | SS |
|
$10.39 | $10.15 | 1 | |
| 32 | 8M0204723 | ----KEY | 43037 | SS |
|
$4.39 | $4.30 | 1 | |
| 33 | 43026T2 | ----IMPELLER | ACT |
|
$36.49 | $35.81 | 1 | ||
| 34 | 82684425 | ----SCREW (M6 x 25) | ACT | $2.39 | $2.33 | 6 | |||
| - | 816575A2 | ----SEAL KIT | ACT |
|
$10.89 | $10.63 | 1 | ||
| 35 | 8M0142851 | --------SEAL Face | 8M2014338 | SS |
|
$0.30 | $0.30 | 1 | |
| NS | NSS | ----------------NOT SOLD SEPARATE TOOL, Face Seal Setting |
|
$0.00 | $0.00 | 1 | |||
| 36 | 884563A00 | ----SHIFT SHAFT ASSEMBLY | ACT |
|
$93.99 | $88.52 | 1 | ||
| 36 | 884565A00 | ----SHIFT SHAFT ASSEMBLY | ACT |
|
$94.99 | $89.23 | 1 | ||
| 37 | 29641 | --------E RING | ACT | $1.80 | $1.76 | 1 | |||
| 38 | 43052A4 | ----BUSHING ASSEMBLY | ACT |
|
$45.99 | $45.09 | 1 | ||
| 39 | 8M0204681 | --------O-RING (1.424 x .103) | 457101 | SS |
|
$3.79 | $3.69 | 1 | |
| 40 | 8M0204708 | --------SEAL Oil | 8164641 | SS |
|
$16.99 | $16.58 | 1 | |
| 41 | 82684425 | ----SCREW (M6 x 25) | ACT | $2.39 | $2.33 | 2 | |||
| 42 | 891637 | BUSHING | ACT | $9.89 | $9.66 | 1 | |||
| - | 43035A05 | SEAL KIT Gear Housing | ACT | $113.99 | $102.40 | 1 | |||
| - | 8M0113801 | REPAIR KIT Water Pump | 43024A09 | REP |
|
$220.49 | $198.41 | 1 | |
| - | 8M0100526 | REPAIR KIT Water Pump Impeller | 43026Q06 | SS |
|
$66.99 | $62.94 | 1 | |
| - | 803496T2 | BEARING/SEAL KIT | ACT | $249.49 | $224.93 | 1 |