| Ref # | Current Part Nbr |
Description | Superceded From |
Status | Notes | List Price |
Online Price |
Quan Used |
Order Quan |
|---|---|---|---|---|---|---|---|---|---|
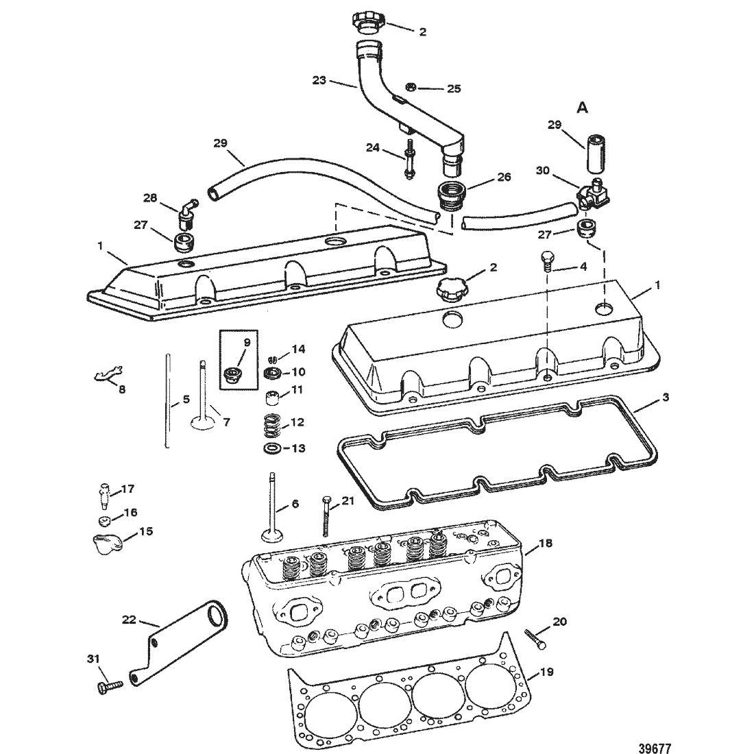
| 1 | 8M0238344 | ROCKER COVER | 811587 | SS |
|
$761.49 | $716.02 | 2 | |
| 2 | 811569 | CAP, Oil Tank | NLA |
|
$0.00 | $0.00 | 2 | ||
| 3 | 8M0092920 | GASKET, Rocker Cover | 811588 | SS |
|
$126.99 | $119.44 | 2 | |
| 4 | 811589 | BOLT, (1/4-20 x 0.875) | ACT | $18.19 | $17.84 | 14 | |||
| 5 | 811581 | PUSH ROD | NLA |
|
$0.00 | $0.00 | 8 | ||
| 5 | 811582 | PUSH ROD | NLA |
|
$0.00 | $0.00 | 8 | ||
| 6 | 816962 | VALVE, Exhaust | NLA |
|
$0.00 | $0.00 | 8 | ||
| 6 | 816963T | VALVE, Exhaust | 816963 | SS |
|
$0.00 | $0.00 | AR | |
| 7 | 801877 | VALVE, Intake | NLA |
|
$0.00 | $0.00 | 8 | ||
| 7 | 801878 | VALVE, Intake | NLA |
|
$0.00 | $0.00 | AR | ||
| 8 | 881686 | GUIDE | 811586 | SS |
|
$18.39 | $17.95 | 8 | |
| 9 | 827644A1 | ----CAP AND SHIELD | 19325 | SS |
|
$92.49 | $88.89 | 16 | |
| 10 | 827644A1 | --------CAP ASSEMBLY, Valve | ACT |
|
$92.49 | $88.89 | 16 | ||
| 11 | 827645 | --SEAL, Valve | NLA |
|
$0.00 | $0.00 | 16 | ||
| 12 | 801879T | SPRING, Valve | 801879 | SS |
|
$55.99 | $53.85 | 16 | |
| 13 | 845669 | SHIM, Valve Spring (.015) | 54531 | SS |
|
$8.79 | $8.59 | 16 | |
| 14 | 54530 | KEY | ACT | $6.89 | $6.73 | 32 | |||
| 15 | 8M0112788 | ARM, Rocker | 811591 | SS |
|
$0.00 | $0.00 | 16 | |
| 16 | 8M0112788 | BALL, Rocker Arm | 811592 | SS |
|
$0.00 | $0.00 | 16 | |
| 17 | 811593 | BOLT, Rocker Arm | ACT | $18.09 | $17.65 | 16 | |||
| 18 | 883493R1 | CYLINDER HEAD | 811529 | NLA |
|
$0.00 | $0.00 | 2 | |
| 18 | 8M0115141 | CYLINDER HEAD ASSEMBLY | 827495 | SS |
|
$0.00 | $0.00 | 2 | |
| 19 | 879150141 | GASKET | 811547 | SS |
|
$92.99 | $89.37 | 2 | |
| 19 | 879150139 | GASKET, Cylinder Head | 811546 | SS |
|
$120.99 | $113.64 | 2 | |
| 20 | 8M0102366 | BOLT, (2.00 Inch) | 49106 | SS |
|
$199.99 | $188.27 | 8 | |
| 21 | 8M0102366 | BOLT, (4.125 Inch) | 49105 | SS |
|
$199.99 | $188.27 | 24 | |
| 22 | 805442T1 | BRACKET, Lifting Eye (FRONT) | NLA |
|
$0.00 | $0.00 | 1 | ||
| 23 | 805621A1 | TUBE, Oil Fill | NLA |
|
$0.00 | $0.00 | 1 | ||
| 24 | 805706 | STUD | NLA |
|
$0.00 | $0.00 | 1 | ||
| 25 | 826709109 | NUT, (.250-28) | 35045 | SS |
|
$3.59 | $3.50 | 1 | |
| 26 | 805622 | GROMMET | ACT | $38.99 | $38.22 | 1 | |||
| 27 | 811553 | GROMMET | ACT | $83.49 | $80.07 | 2 | |||
| 28 | 97850T | ELBOW, 90 Degree, Breather | 97850 | SS |
|
$5.69 | $5.56 | 1 | |
| 29 | 805933 | BREATHER HOSE | NLA |
|
$0.00 | $0.00 | 2 | ||
| 30 | 805558A2 | BAFFLE ASSEMBLY, Breather | NLA |
|
$0.00 | $0.00 | 1 | ||
| 31 | 865982005 | SCREW, (.375-16 x 1.00) | 12244 | SS |
|
$2.59 | $2.53 | 2 | |
| 31 | 47461 | SCREW, (.437-14 x 1.00) | ACT | $2.29 | $2.24 | 2 | |||
| - | 811572A94 | GASKET SET, Overhaul | NLA |
|
$0.00 | $0.00 | 1 | ||
| - | 805396A92 | GASKET SET, Overhaul | NLA |
|
$0.00 | $0.00 | 1 |