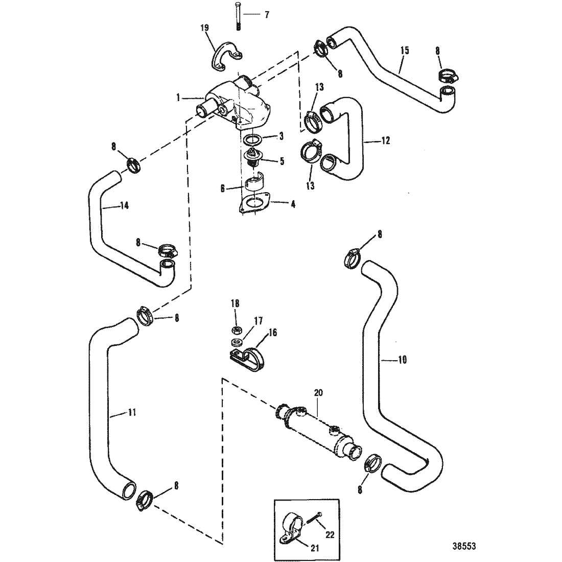
| Ref # | Current Part Nbr |
Description | Superceded From |
Status | Notes | List Price |
Online Price |
Quan Used |
Order Quan |
|---|---|---|---|---|---|---|---|---|---|
| 1 | 860256A3 | HOUSING ASSEMBLY, Thermostat | 860256A1 | SS |
|
$413.99 | $395.52 | 1 | |
| 3 | 8M0238323 | --GASKET | 806871 | SS |
|
$10.20 | $9.95 | 1 | |
| 4 | 530451 | --GASKET | ACT | $5.69 | $5.56 | 1 | |||
| 5 | 8M0109441 | THERMOSTAT, 71°C (160°F) | 8072522 | SS |
|
$34.49 | $33.72 | 1 | |
| 6 | 8M0214947 | SLEEVE | 806922 | SS |
|
$17.89 | $17.46 | 1 | |
| 7 | 8M0113179 | SCREW, (.375-16 x 3.00) | 98508 | SS |
|
$8.19 | $8.00 | 2 | |
| 8 | 815504220 | CLAMP, Worm Gear | ACT | $7.59 | $7.42 | AR | |||
| 10 | 96246A4 | HOSE | ACT | $73.99 | $70.94 | 1 | |||
| 11 | 806856 | HOSE | ACT | $43.49 | $42.55 | 1 | |||
| 12 | 861590A05 | HOSE | 806825 | SS |
|
$65.99 | $63.16 | 1 | |
| 13 | 815504232 | CLAMP, Worm Gear (2.50 Diameter) | ACT | $8.89 | $8.68 | 2 | |||
| 14 | 8066351 | HOSE (PORT) | ACT | $62.49 | $60.13 | 1 | |||
| 15 | 8066361 | HOSE (STARBOARD) | ACT | $60.99 | $58.67 | 1 | |||
| 16 | 47715 | CLIP | NLA |
|
$0.00 | $0.00 | 1 | ||
| 17 | 39107 | LOCKWASHER, (.312-24) | ACT | $1.50 | $1.47 | 1 | |||
| 18 | 29250 | NUT, (.312-24) | ACT | $2.89 | $2.82 | 1 | |||
| 19 | 12552 | LIFTING EYE | ACT | $19.89 | $19.41 | 1 | |||
| 20 | 8M0181740 | COOLER ASSEMBLY | 99356A2 | SS |
|
$565.99 | $532.16 | 1 | |
| 21 | 65970T1 | BRACKET | ACT | $17.89 | $17.46 | 1 | |||
| 22 | 41408 | SCREW, (#10-32 x 1.50) | ACT | $3.39 | $3.30 | 1 |