| Ref # | Current Part Nbr |
Description | Superceded From |
Status | Notes | List Price |
Online Price |
Quan Used |
Order Quan |
|---|---|---|---|---|---|---|---|---|---|
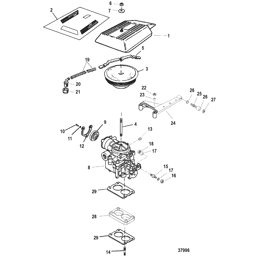
| 1 | 18484A3 | COVER | NLA |
|
$0.00 | $0.00 | 1 | ||
| 2 | 812776A38 | DECAL SET, Cover | NLA |
|
$0.00 | $0.00 | 1 | ||
| 3 | 863200 | FLAME ARRESTOR | 805016A1 | NLA |
|
$224.99 | $211.50 | 1 | |
| 4 | 8M0113181 | --STUD, (.250-20/.250-28 x Special) | 805295 | SS |
|
$41.99 | $41.24 | 1 | |
| 5 | 805313 | --RETAINER | NLA |
|
$0.00 | $0.00 | 1 | ||
| 6 | 826709109 | NUT, (.250-28) | 35045 | SS |
|
$3.59 | $3.50 | 1 | |
| 7 | 86400 | WASHER | ACT | $1.70 | $1.66 | 1 | |||
| 8 | 807764A1 | CARBURETOR ASSEMBLY | ACT |
|
$1,222.99 | $1,120.83 | 1 | ||
| 9 | 70125A02 | --COVER, Choke | 70125A1 | SS |
|
$194.99 | $183.64 | 1 | |
| 10 | 33047 | --SCREW | NLA |
|
$0.00 | $0.00 | 3 | ||
| 11 | 26995 | --LOCKWASHER, (#8) Stainless Steel | ACT | $1.10 | $1.08 | 3 | |||
| 12 | 805140 | --PLATE | NLA |
|
$0.00 | $0.00 | 1 | ||
| 13 | 56800 | --PLUG, Pipe (.0625-27) | ACT | $26.49 | $25.94 | 1 | |||
| 14 | 65868 | STUD, (.312-18/.312-24 x 2.120) | NLA |
|
$0.00 | $0.00 | 2 | ||
| 14 | 807849 | STUD, (.312-18/.312-24 x 3.380) | ACT | $3.59 | $3.50 | 2 | |||
| 15 | 8M0113178 | STUD, (.250-28 x 2.00), Throttle Cable Anchor | 96112 | SS |
|
$3.09 | $3.01 | 1 | |
| 16 | 8267089 | NUT, (.250-28) | 20361 | SS |
|
$1.50 | $1.47 | 1 | |
| 17 | 8M0204649 | WASHER, (.281 x .500 x .060) Stainless Steel | 29245 | SS |
|
$1.20 | $1.18 | 2 | |
| 18 | 826709109 | NUT, (.250-28) | 35045 | SS |
|
$3.59 | $3.50 | 1 | |
| 19 | 8M0086022 | HOSE, Breather | 1589418 | SS |
|
$36.49 | $35.68 | 2 | |
| 20 | 97850T | ELBOW, 90 Degree, Breather | 97850 | SS |
|
$5.69 | $5.56 | 2 | |
| 21 | 827152 | GROMMET | ACT | $17.89 | $17.52 | 2 | |||
| 22 | 862902 | NUT, (.9375-24) | 25594 | SS |
|
$2.39 | $2.33 | 4 | |
| 23 | 20084 | WASHER, (.328 x .562 x .062) | ACT | $2.97 | $2.92 | 4 | |||
| 24 | 805489T | BRACKET | ACT | $85.99 | $82.64 | 1 | |||
| 25 | 38525 | STUD | ACT | $5.19 | $5.08 | 1 | |||
| 26 | 24664 | WASHER, (M4 x 20) | ACT | $1.40 | $1.37 | 2 | |||
| 27 | 826709109 | NUT, (.250-28) | 35045 | SS |
|
$3.59 | $3.50 | 1 | |
| 28 | 807726A2 | ADAPTOR | ACT |
|
$82.99 | $79.51 | 1 | ||
| 29 | 8079821 | --GASKET | 807982 | SS |
|
$5.29 | $5.17 | 2 | |
| - | 824326A02 | GASKET SET, Overhaul | 824326A96 | SS |
|
$965.49 | $907.94 | 1 |